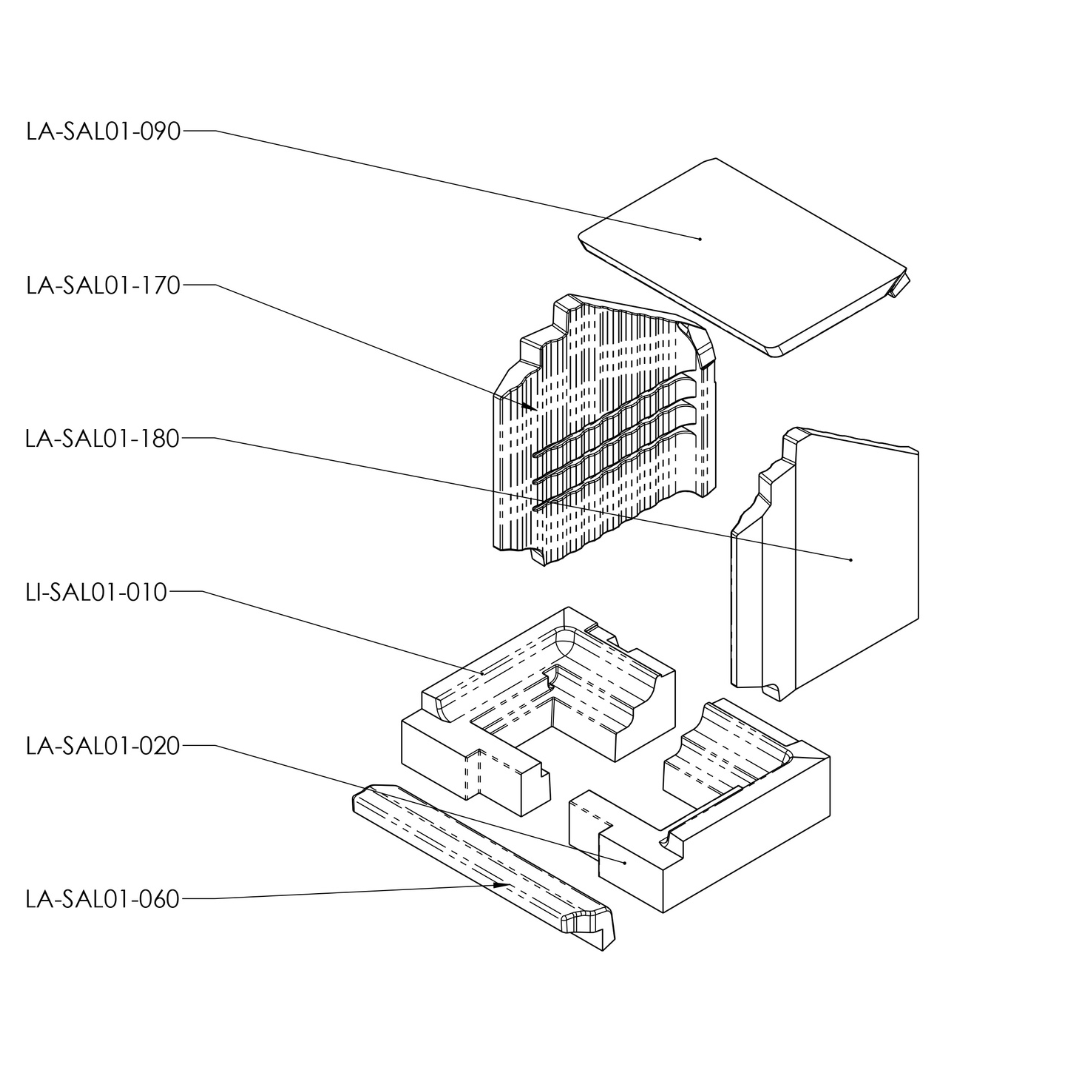
Nordpeis binnenwerk thermotte Salzburg L excl. stalen achterwand
€370,01
€305,79excl. btw
Artikelnummer 620-925
Opties
Omschrijving
Compleet binnenwerk voor de Nordpeis Salzburg L.
LET OP: Dit is exclusief de stalen achterwand, deze is te bestellen via de artikelcode: 100-024
Specificaties

